会员登录|免费注册|忘记密码|管理入口 返回主站||保存桌面|手机浏览|联系方式|购物车
企业会员第1年

上海三利泵业(集团)有限公司  
加关注0

变频恒压供水设备、恒压供水设备、无负压变频供水设备、二次供水设备、箱式无负压泵站、消防设备、排污泵、水箱、管道清水泵

搜索
新闻中心
  • 暂无新闻
产品分类
联系方式


请先 登录注册 后查看


站内搜索
 
荣誉资质
  • 暂未上传
友情链接
  • 暂无链接
首页 > 供应产品 > XBD-GDL型立式多/单级管道消防泵,上海三利让你心动的价格
XBD-GDL型立式多/单级管道消防泵,上海三利让你心动的价格
单价 面议对比
询价 暂无
浏览 23
发货 上海浦东新区付款后3天内
品牌 上海三利泵业(集团)有限公司
品牌 上海三利泵业(集团)有限公司
过期 长期有效
更新 2025-09-19 15:41
 
详细信息

  上海三利泵业(集团)有限公司生产各种多级消防泵,消防水泵,消防稳压设备,消防增压稳压设备,卧式消防泵,立式消防泵等各类产品,质量稳步提高,多次经质量部门抽检,产品出厂做到高质量检测。

一、XBD-GDL型立式多级管道消防泵产品概述上海三利泵业(集团)有限公司

立式多级消防泵组是参照参照消防泵标准GB6245-2006《消防泵性能要求和试验方法》之规定,结合本公司多年的生产实践经验,参考现代水利模型设计而成,专门用于消防系统的离心泵。产品经中国消防装备质量测试中心型式试验,各项性能指标全部达到标准要求。

二、XBD-GDL型立式多级管道消防泵产品特点上海三利泵业(集团)有限公司

1、该泵为立式、多级节段式结构,泵进出水法兰处在同一直线上,叶轮采用水力平衡方式平衡轴向力泵下端有一导轴承,轴通过夹壳联轴器与电机轴固定传动,外筒为不锈钢筒

2、轴封采用机械密封

3、泵由电机驱动,从电机端方向看,泵为顺时针方向旋转

4、泵出口设有排气阀(气嘴),可泵内气体能完全排尽

5、叶轮采用不锈钢材质,避免长期停机后叶轮与导叶间锈合。

三、XBD-GDL型立式多级管道消防泵主要用途上海三利泵业(集团)有限公司

立式多级消防泵组主要用于消防系统管道增压送水。也可适用于工业和城市给排水,高层建筑增压送水、远距离送水、采暖、浴室、锅炉冷暖水循环增压、空调制冷系统送水及设备配套等场合。

四、XBD-GDL型立式多级管道消防泵型号意义上海三利泵业(集团)有限公司

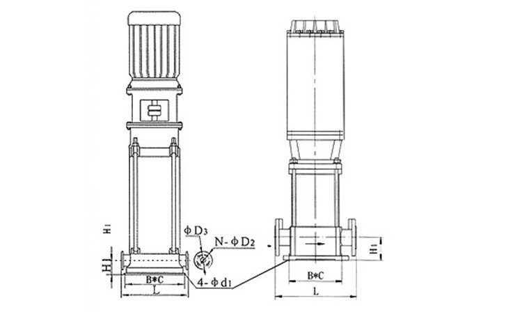
五、XBD-GDL型立式多级管道消防泵结构简图及零部件材质表上海三利泵业(集团)有限公司

六、XBD-GDL型立式多级管道消防泵安装说明上海三利泵业(集团)有限公司

1、安装时管路重量不应承受在泵上,否则容易损坏水泵;

2、安装时必须拧紧地脚螺栓,且每间隔一定时间段应对泵进行检查防止其松动,以免水泵启动是发生剧烈振动而影响泵的性能;

3、安装水泵前应仔细泵流道内有无影响水泵运行的硬质物(如石块、铁砂等)以免水泵运行时损坏过流部件;

4、为了维护方便和使用安全,在泵的进出口管路上安装一只调节阀及在泵进出口附近安装一只压力表,对于高扬程泵,为防止水锤,还应在出口闸阀前安装一只止回阀以应付突然断电等失去动力事故,水泵正常运行,增加水泵的使用寿命;

5、泵用于有吸程场合,应装有底阀,并且进口管路不应有过多弯道,同时不得漏水、泄气现象,以免影响水泵的吸入性能;

6、安装管路前转动水泵的转子部件,应无摩擦声或卡死现象,否则应将泵拆开检查原因。

多级消防泵与单级消防泵区别:上海三利泵业(集团)有限公司

1、多级消防泵与单级消防泵相比,其区别在于多级泵有两个以上的叶轮,能分段地多级次地吸水和压水,从而将水扬到高的位置,扬程可根据需要而增减水泵叶轮的级数。

2、其次区别在于消防泵的流量曲线比较平缓,不会由于流量较小而扬程增加很大,从而使消火栓口压力超过。

3、多级消防泵我们可以把它归类为多级泵。

4、而单级消防泵我们可以把它归类为单级泵。

5、无论多级消防泵还是单级消防泵我们都可以把它归类为管道离心泵。

 

3CF认证,型号齐全!

上海三利泵业(集团)有限公司

解决消防验收难题,贴心服务欢迎来电...