会员登录|免费注册|忘记密码|管理入口 返回主站||保存桌面|手机浏览|联系方式|购物车
企业会员第1年

上海三利泵业(集团)有限公司  
加关注0

变频恒压供水设备、恒压供水设备、无负压变频供水设备、二次供水设备、箱式无负压泵站、消防设备、排污泵、水箱、管道清水泵

搜索
新闻中心
  • 暂无新闻
产品分类
联系方式


请先 登录注册 后查看


站内搜索
 
荣誉资质
  • 暂未上传
友情链接
  • 暂无链接
首页 > 供应产品 > 上海三利LG型高层建筑多级给水泵,LG-B高层给水离心泵
上海三利LG型高层建筑多级给水泵,LG-B高层给水离心泵
单价 面议对比
询价 暂无
浏览 16
发货 上海浦东新区付款后3天内
品牌 上海三利泵业(集团)有限公司
品牌 上海三利泵业(集团)有限公司
过期 长期有效
更新 2025-09-21 20:04
 
详细信息

三利·LG、LG-B型高层建筑多级给水泵介绍:

LG型高层建筑多级给水泵系立式单吸多级分段式离心泵,供输送常温清水及物理化学性质类似于清水液体。LG型高层建筑多级给水泵为立式安装,电机轴与泵轴通过爪型联轴器联接,具有结构紧凑、噪音低、占地面积小的优点,主要应用于高层建筑供水,也可应用厂矿,企业给水排水以及低压锅炉循环用水。

三利·LG、LG-B型高层建筑多级给水泵结构说明:

LG型高层建筑多级给水泵为立式结构,其吸入口位于泵座上,吐出口位于后段上,呈180°水平方向布置,根据需要,吸入口和吐出口也可以呈0°、90°、270°布置,可根据扬程的需要选择水泵的级数。

LG型高层建筑多级给水泵的主要零件有:泵座、中段、后段、叶轮、导叶套、导叶、后导叶、支座、电机座、轴、轴承、轴套、密封环、平衡鼓、平衡鼓套等(25LG、32LG和40LG三种泵没有平 衡鼓和平衡鼓套,而设有水封环,装在填料腔的底部)。 泵座、中段、后段、叶轮、导叶套、导叶、后导叶、支座、电机座、轴套乙、密封环均为铸铁制成。

泵轴为合金结构钢制成,中间有叶轮、轴套乙、平衡鼓、用键和小圆螺母固定在轴上组成转子部件,轴的下端装有轴套甲与滑动轴套相配合,轴的上端装有两个角接触球轴承,借以支承转子部件,泵轴的上端与电机轴的下端通过爪型联轴器联接。

密封装置采用软填料密封和机械密封。在采用软填料密封时,与之相摩擦的轴套丙为碳素钢制成,并经淬火处理,以增加面磨性。

叶轮为铸铁制成,由于叶轮前后受压不等,必然存在轴向力,此轴向力绝大部分由平衡鼓来承担(25LG、32LG和40LG则由水封环组成平衡管路承担)其余小部分残余轴向力由轴上端的两个角接触球轴承来承受,由平衡鼓和平衡鼓套组成的平衡装置,磨损后可以更换。

在泵座、中段上装有密封环和口环、用以减少高压水漏回进水部分,密封环磨损后可更换。泵上端的角接触球轴承用钙基黄油润滑,下端的滑动轴承(轴瓦)以泵输送的液体润滑,泵的旋转方向,从电机端看为逆时针方向转动。

三利·LG、LG-B型高层建筑多级给水泵安装方法:

 

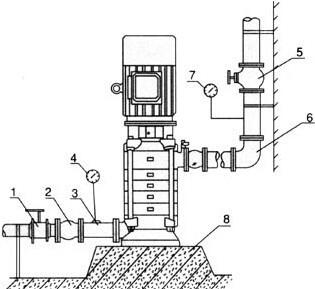
刚性连接

 

柔性连接

 

1

球阀

2

挠性接头

3

取压直管

4

真空压力表

1

球阀

2

挠性接头

3

取压直管

4

闸阀

5

弯管

5

闸阀

6

止回阀

7

压力表

8

水泥台座

6

7

联接板

8

JGD型隔振器

9

水泥台座

10

 

1、安装前应检查有无杂质在泵的流道内。
2、安装位置应尽可能靠近水源处。
3、LG型高层建筑多级给水泵与底座安装有两种方式,一种直接装在水泥基础上的刚性连接,另一种是采用JGD型减振器安装的柔性连接,具体方法见安装示意图所示。
4、直接泵放在基础上垫高30~40毫米(准备充填水泥浆之用),然后进行校正,并穿好地脚螺栓,充填水泥砂浆,经3~5开水泥干涸后,重新校正,待水泥完全干涸后,拧紧地脚螺栓的螺母。
5、安装管路时,进、出水管路都应有各自的支承,不应使泵的法兰承受过大的管路重量。
6、用于有吸程场合,进水管端应装有底阀,并且进口管路不应有过多弯道。同时不得有漏水、漏气现象存在。
7、在进口管路装过滤网,以防杂质进入叶轮内部。滤网的有交面积应是进水管面积3~4倍,以液体的自由畅通。
8、为了维护和使用方便,在泵的进口管路上安装一只球阀和在泵出口附近安装一只压力表,并在压力表前面安装一只自位阀(防水锤),以泵在额定范围内运行,泵的正常运行和使用寿命。
9、进口如需扩径连接,请选用偏心异径管道接头。

上海三利泵业(集团)有限公司生产销售LG型高层建筑多级给水泵,型号齐全欢迎咨询选购!

三利·LG、LG-B型高层建筑多级给水泵性能介绍:

统工作压力为2.4Mpa,即泵的吸入压力+泵扬程2.4MPa泵的静压试验压力3.6Mpa。

订货时请注明系统工作压力,若泵系统工作压力超过2.4Mpa时,请在订货时予以说明,以便另行设计、制造。

三利·LG、LG-B型高层建筑多级给水泵主要用途:

LG型高层建筑多级给水泵适用于住宅、办公大楼等高层建筑恒压供水、消防、喷淋给水设备配套用泵;也适用于化工流程冷却塔的自动;系统稳压、生产工艺循环用水、远距离输送、锅炉给水等给水设备之用。可输送的液体为常温(<80℃)(热水型可输送温度小于105度的介质)清水或物理、化学性质类似于水的常温介质。

三利·LG、LG-B型高层建筑多级给水泵产品特点:

1、结构紧凑、体积小、外形美观其结构决定安装占地面积小如加上防护罩可置于户外使用。
2、叶轮直接安装在电机轴上从而泵的同心度因而增强了运行稳定性和延长使用寿命。
3、轴封采用机械密封或机械密封的组合采用的质合金密封环增强了密封的耐磨性能有效寿命。
4、安装检修方便无需拆动管路系统。泵进口和出口为相同口径简化了管路的连接。
5、可根据流量和扬程的需要采用泵的串、并联运行方式。
6、扬程可根据需要增减水泵级数并结合切割叶轮外径予以满足而不改变安装占地面积。

『上 海 三 利 』承诺

☆. 上海三利泵业(集团)有限公司产品按厂家技术标准生产

☆. 购买我司产品,享受一年内的免费维修(易损件除外);在质保期内如果有小件损坏,快递配件由买家更换,如果是大件不可修问题,返厂维修或者换新的。

☆. 产品为木箱包装,内附产品说明书、合格证各一套。